加入收藏
网站地图
网站搜索
简
繁
默
首页
图片
热点
专题
市场快报
市场热点
投资分析
集藏资讯
阅读新闻
2023年3月上半月中国邮政新增及撤销的邮政机构
[日期:
2023-03-24
]
来源:
集邮杂志社
作者:
[字体:
大
中
小
]
首页
→
集藏资讯
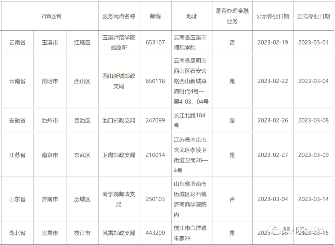
2023年3月上半月,中国邮政集团有限公司在全国范围内新增了15家邮政机构,撤销了6家邮政机构。详情如下。
新增邮政机构
撤销邮政机构
信息来源:中国邮政官网
阅读:
次
录入:
007com
【
评论
】 【
推荐
】 【
打印
】
上一篇:
13家银行承办预约、兑换“世界文化和自然遗产”题材普通纪念币
下一篇:
“毛泽覃同志纪念碑”数字化防伪邮资机宣传戳(打印型)4月26日启用
相关新闻
本文评论
全部评论
发表评论
点评:
字数
姓名:
尊重网上道德,遵守中华人民共和国的各项有关法律法规
承担一切因您的行为而直接或间接导致的民事或刑事法律责任
本站管理人员有权保留或删除其管辖留言中的任意内容
本站有权在网站内转载或引用您的评论
参与本评论即表明您已经阅读并接受上述条款
网站简介 - 广告服务 - 网站地图 - 帮助信息 - 联系方式
Copyright © 投资资讯网 Powered by 尘缘投资